塑料检查井的安装与施工详解
日期:2021-03-17 14:25:37 / 人气:2654 / 来源:本站
1.1 一般规定
1.1.1 排水检查井安装施工前,应与排水管道工程同时做好技术交底工作。
1.1.2 施工单位应编制详细的施工组织方案。
1.1.3 施工单位应根据设计文件编制“塑料排水检查井工程备料表”。
1.1.4 “塑料排水检查井工程备料表”应按检查井的井位编号逐个进行填写。
1.1.5 检查井部件的进场质量查验应按以下要求进行:
1 查验部件的产品质量合格证和检验报告;
2 查验部件的规格型号、接口管径、接管数量;
3 查验部件的外观质量、尺寸偏差等。
1.1.6 查验后的检查井部件,应按井位的编号进行有序码放。
1.1.7 检查井井底座下沟前应对井底座的地基进行验收。当发现地基被扰动、超挖、受水浸泡,或存在不良地基、不良土层时,应经处理达到设计要求后,方可进行施工。
1.1.8 检查井部件宜采用人工或机械设备吊装下沟。吊装时应采用非金属绳(带)吊装。
1.1.9 检查井井底座与管道连接时,井底座基坑超挖部分应及时用级配砂石或中粗砂回填压实,并符合设计要求。
1.1.10 检查井井底座与管道连接时,应采用专用收紧机具进行连接,但应注意不得对已连接的管道造成不良影响。
1.1.11 检查井各组件之间的连接,以及与排水管道之间的连接必须保证长期可靠的密封性能,并具有一定的抗不均匀沉降能力。
1.1.12 检查井在安装、回填过程中,井底部不得有积水或冰冻。
1.1.13 检查井井盖的安装应与道路路面施工同时进行。
1.1.14 聚氯乙烯类和聚丙烯类检查井在冬季施工时,应在气温高于-5℃的环境下进行施工。
1.1.15 当检查井与排水管道采用弹性橡胶密封圈承插连接时,橡胶圈在承载外力的条件下,应处于弹性变形范围内。
1.2 基坑与基础
1.2.1 井底座的基坑开挖,应在排水管道基础施工完成后进行。井底座主轴线应与排水管道主轴线一致。
1.2.2 井底座基础做法应根据地质资料和回填土下曳力,经结构设计确定,且不应低于下列*低要求:
1 砂土、岩石、砂砾土的土质时,可在坑内填铺厚度不小于100mm的中粗砂垫层,见图1.2.2-1;

图1.2.2-1 井底座基础(一)
1—中粗砂垫层;2—井壁;3—井底座
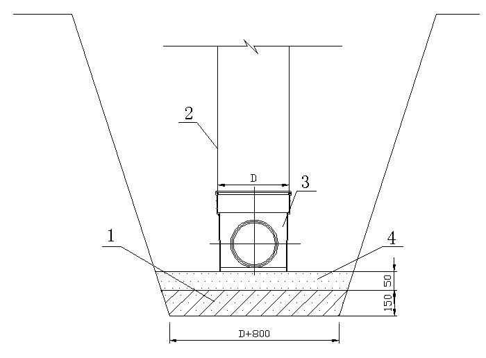
2 软土的土质时,可在坑内填铺150mm碎石或砾石(粒径5mm~40mm)层,夯实后再铺50mm中粗砂垫层,见图1.2.2-2;

图1.2.2-2 井底座基础(二)
1— 碎石或砾石;2—井壁;3—井底座;4—中粗砂垫层
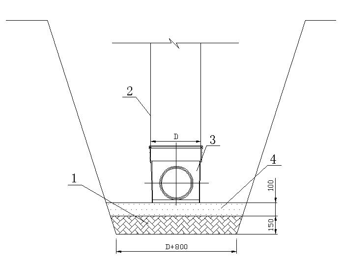
3 湿陷性黄土的土质时,基坑原土夯实后,铺垫100mm~150mm三七灰土垫层并夯实,夯实后再铺100mm中粗砂垫层,见图1.2.2-3。

图1.2.2-3 井底座基础(三)
1—三七灰土;2—井壁;3—井底座;4—中粗砂垫层
4 砂石垫层的厚度不宜小于管道垫层的厚度,压实系数不宜小于0.95。
1.2.3 有沉泥槽的检查井基坑开挖,要根据沉泥槽的尺寸进行局部开挖,并填铺100mm中粗砂垫层。
1.3 井底座与接管
1.3.1 检查井与排水管道的连接安装顺序为:
1 建筑小区应从管道的上游向下游延伸的顺序进行安装;
2 市政管道应从管道的下游向上游延伸的顺序进行安装;
3 以井→管→井→管顺序安装;
4 在管道基础的轴线上,先确定井的中心位置;按井底座的尺寸开挖基坑,铺设垫层;调整井底座基础标高,然后进行井底座的安装,并与管道连接。
1.3.2 检查井井底座的安装,应遵守下列规定:
1 井底座在下沟前,应对井底座部件的编号、规格、接管管径等进行复核;
2 井底座下沟后,先用临时垫块,对井底座的中心、主轴线、井底标高和井底座水平进行调整。当它符合设计要求后,采用砂土袋等措施进行临时固定,并填充中粗砂,取出垫块;
3 井底座安装时,不得扰动基础垫层。当基础垫层受到损坏时,应采取有效的补救措施。
1.3.3 井底座的校正与固定,应按下列规定进行:
1 水平校正可采用气泡水平尺进行。校正时,先校管道轴线方向,后校与管道轴线垂直方向;
2 井底座的轴线校正可采用拉线方式进行;
3井底座的标高校正,应采用水准仪进行;
4校正过程中,随即可用少量中粗砂将井底座进行临时固定。
1.3.4 对带有倒空腔的井底座,宜采用C15混凝土灌满并固化后,进行下沟安装。
1.3.5 井底座接口与管道的连接,应符合现行标准的规定,并按下列要求进行:
1 接口的连接施工方法应与管道管材的连接施工方法相适应;
2 井底座接口与塑料管道的连接需要变径时,宜采用变径接头。当进水管管径小于井底座接口口径时,应管顶平接;
3 井底座接口与非塑料管道相接时,应采用专用过渡接头进行连接。当过渡接头与井底座接口采用承插连接,而与非塑料管道采用机械压紧连接时,宜再采用热收缩带进行补强;
4 井底座接口和钢带增强螺旋管相接时,应采用专用过渡接头进行连接。当过渡接头与井底座接口采用承插连接,而与钢带增强螺旋管采用焊接连接时,宜再采用热收缩带进行补强;
5 与其他管材连接时,应采用现行标准和规范规定的连接方法进行连接。
1.4 井壁管、井壁收口锥体与接管
1.4.1 井壁管的长度应根据检查井的埋深和检查井井盖座的设计标高,经计算确定。
1.4.2 塑料井壁管切割时,切口应平整,与管材轴线相垂直,尚可留有一定的富余长度。
1.4.3 井壁管与井底座的连接宜采用弹性橡胶密封圈承插或热收缩套(带)等方式进行连接。
1.4.4 井壁管的安装与连接,应按下列规定进行:
1 井壁管与井底座的连接,应在井底座安装后进行;
2 插接时,应采用专用的收紧工具,不得使用重锤直接敲打,并及时调整井壁管的垂直度;
3 当井底座井位中心和井壁管垂直度调整好后,应进行及时固定,并临时封堵管口;
4 在插接前,应对井壁管内壁的断面尺寸进行测量,并做好记录。
1.4.5 在井壁管上接入排水支管时,可根据支管的数量,采用井壁接管件或井壁活接头进行连接。
1.4.6 在井壁管上,采用井壁活接头接入排水支管时,可在现场开孔连接,但两个活接头边缘净间距不应小于100mm;接入排水支管管径不应大于315 mm,同时接头不得倒坡。
1.4.7 在直壁式检查井上,采用井壁接管件接入排水支管时,可按下列顺序进行:
1 在井底座安装后进行;
2 根据接入支管管底标高和井底座上承口底部标高之差,截取**节井壁管的长度,并将它插入到井底座上承口中;
3 然后将井壁接管件插到**节井壁管上,并封堵接入支管接口;
4 接着再将第二节井壁管插入井壁接管件上,并及时封堵管口;
5 应及时调整检查井的垂直度,并加以固定。
1.4.8 在收口式检查井上,采用井壁接管件接入排水支管时,应按下列规定:
1 在井壁的同一高程处,需接入来自不同方向的1~3根排水支管时,应采用井壁接管件,并采用专用的收紧机具进行连接,接头不得倒坡。
2 在井壁的同一高程处,需接入来自同一方向的2~3根排水支管时,宜先采用汇流接管件合流后,然后通过井壁接管件接入检查井,并采用专用的收紧机具进行连接,接头不得倒坡。
1.4.9 在收口式检查井上,安装井壁收口锥体时,应按下列要求进行:
1 井壁收口锥体上口离地面的高度应按设计要求进行;
2 采用专用工具将井壁收口锥体安装在井壁管上,然后再接上井筒;
3 井筒长度宜留出一定的富余量,并高出地面。
1.4.10 井壁(筒)安装完毕的检查井,应根据沟槽内地下水的状况,及时采取防漂浮的措施。
1.5 雨水口
1.5.1 雨水口的安装,应按下列顺序进行:
1 道路路基完工或草坪地面平整后,开挖雨水口与雨水支管的沟槽;
2 按雨水口的标高和雨水支管的坡度,在雨水检查井的井壁管上开孔,并安装井壁活接头;
3 井壁活接头安装好后,再连接并铺设雨水支管,同时临时封堵雨水支管管口;
4 在安装道路路缘石的同时开挖雨水口基坑,并安放雨水口,接好雨水支管后,用中细砂填实并稳固。
1.5.2 道路上安置雨水口时,应根据路面的高程调整好高度,并采取适当的措施加以保护。
1.6 闭水试验
1.6.1 检查井的闭水试验应与排水管道系统的闭水试验同时进行。
1.6.2 闭水试验的方法与排水管道系统的试验方法相同。
1.6.3 闭水试验的结果应以井为单位进行记录。若有渗漏时,应采取有效措施进行修补。
1.7 回填
1.7.1 回填应在闭水试验合格后进行。
1.7.2 回填前,可采用砂土袋等措施对检查井进行临时固定,且井坑内不得有积水。
1.7.3 检查井回填的纵向长度,每侧为井壁管管径的3倍;回填的横向宽度,至两侧槽帮,且每侧回填材料的宽度不小于400mm。
1.7.4 回填材料不得采用淤泥、淤泥质土、湿陷性土、膨胀土、冻土,*大粒径不得超过40mm,同时不得夹杂石块、砖头等尖硬的物体。压实系数为0.95,并不小于道路或地面设计要求。
1.7.5 井壁周围的回填应采用人工分层、对称回填、夯实。应严格控制井壁管的初始变形量,严禁机械回填。
1.7.6 井壁(筒)管周围≥100mm宽的范围内,宜采用中粗砂、砂卵石、炉渣或炉渣石灰土等非冻胀性材料进行回填。当井壁(筒)采用聚乙烯缠绕结构壁管时,井壁(筒)管周围≥100mm宽的范围内,应采用非冻胀性材料进行回填。
1.7.7 回填时间应选择在日气温变化较小的时段内进行。
1.8 承压板与井盖
1.8.1 承压板的安装应与道路路面同时施工,宜采用预制钢筋混凝土承压板。
1.8.2 承压板的孔口内径应大于井壁(筒)的外径。承压板上边缘与井筒上边缘的距离不应小于100mm。
1.8.3 承压板下应铺设300mm的垫层作基础。垫层材料可采用级配砂石、路床材料或C20混凝土。
1.8.4 承压板垫层铺设前,应在井壁(筒)外侧放置挡圈,并在井壁(筒)与挡圈之间的缝隙中做好防渗水措施。
1.8.5 承压板吊装就位前,应先用小木桩在垫层上进行定位,保证承压板孔口与井壁(筒)同心。
1.8.6 道路路面施工时,再将检查井井盖放置在承压板上。
作者:admin
推荐内容 Recommended
- 管道验收的10大标准05-04
- HDPE双壁缠绕管如何进行连接05-04
- 塑料检查井回填规定04-17
- 塑料检查井井筒安装常见问题04-17
- 塑料检查井的全面介绍04-17
- 城市发展和塑料检查井之间的关系04-06
相关内容 Related
- 管道验收的10大标准05-04
- HDPE双壁缠绕管如何进行连接05-04
- 塑料检查井回填规定04-17
- 塑料检查井井筒安装常见问题04-17
- 塑料检查井的全面介绍04-17
- 城市发展和塑料检查井之间的关系04-06



